079 - 316 37 31
Mijn Account
Registreren
Inloggen
Verlanglijst (0)
Winkelwagen
Afrekenen
0 product(en) - 0,00€
U heeft nog geen producten in uw winkelwagen.
categorieën
Webshop
Badkamer & Sanitair
Hout & Bouwmateriaal
Kitten, verven, smeren, onderhoud & afdekken
Bevestigingsmaterialen
Electra en verlichting
Elektrisch gereedschap
Handgereedschap
Hang en sluitwerk
IJzerwaren
Trappen en Ladders
(Sleutel)kluizen en brandkasten
Landbouw en Tuin producten
Machine toebehoren
Ongediertebestrijding
Opbergsystemen
Overzicht
Schoonmaken
Scharen en messen
Solderen en lassen
Stickers, bordjes & plakfolie
Supergas ruilpunt Zoetermeer
Transportmiddelen
VELUX
Verhuur
Werkkleding en PBM
Hor en onderdelen
Wonen
Slijpen
Toon alles Webshop
Over ons
Contact
Services
Slijpen
Verhuur
Zagen
Sleutels
SuperGas
Horren op maat
Machine reparaties
Graveren
Deurmatten
Webshop
Hang en sluitwerk
Scharnieren
Paumelles
Insteekpaumelles
INB.PAUMEL PLUS NIKKEL 110080
Omschrijving
Deze inboorpaumelle, ook wel insteekpaumelle genoemd, is geschikt voor het afhangen van opdekdeuren in stalen Theuma Monoplus (voorheen Polynorm) montagekozijnen of ter vervanging van bestaande paumelles.
Een opdekdeur wordt binnenshuis toegepast, bijvoorbeeld als deur naar een slaapkamer, werkkamer, studeerkamer of meterkast. Wanneer u een opdekdeur met deze paumelle bevestigt, garandeert de nylon ring een soepele werking, ideaal voor deuren die vaak geopend en gesloten worden. Bovendien is de paumelle onderhoudsvrij!
Dit scharnier is zowel voor links- als rechtsdraaiende deuren geschikt en monteren is eenvoudig. De onderste helft (het blad) schuift u in de uitsparing. Vervolgens zet u de paumelle vast met een inbussleutel en inbusbout. Het bovenste deel van de paumelle monteert u in de deur, alvorens de deur in het geheel af te hangen. Het grote voordeel van een paumelle is dat de deur na bevestiging gemakkelijk in en uit het kozijn getild kan worden, handig voor bijvoorbeeld schilderwerkzaamheden.
En of u nu een basic, industrieel of klassiek interieur heeft. Door de keuze uit een zwarte, verchroomde of satijnlook afwerking laat u de inboorpaumelle perfect aansluiten op uw interieurstijl.
Heeft u een Theuma/ Polynorm inmetselkozijn? Bekijk dan deze paumelle
Wist u trouwens dat u niet alleen voor het hangwerk bij ons terecht kunt? Met ons ruime assortiment binnendeurbeslag voorziet u uw gehele binnendeur van al het benodigde hang- en sluitwerk. Bekijk bijvoorbeeld eens ons aanbod binnendeursloten, schilden en rozettenof deurkrukken.
materiaal
staal
type
stalen montagekozijn
toepassing
t.b.v. opdek binnendeuren
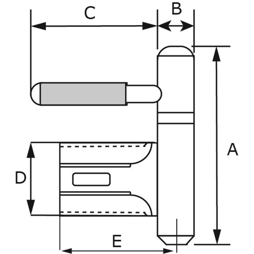
E
45 mm
A
78 mm
C
50 mm
B
14 mm
soort ring
nylon
hoogte
75 mm
finish
satijn verchroomd
D
32 mm
volgorde_Item
1
volgorde_Group
1285
groepsafbeelding
6001.481.5643.jpg
Labelcode
HPL148150MP-6
knoopdikte
14 mm
draagkracht per stuk
20 kilogram
INB.PAUMEL PLUS NIKKEL 110080
Artikelnummer: 6001.481.5643
Beschikbaarheid: Op voorraad
7,80€
per stuks
Excl. BTW: 6,45€
Aantal
Bestellen